江苏雪浪石化工程有限公司官网
加入收藏
|
设为主页
|
联系我们
|
网站地图
网站首页
公司简介
产品中心
新闻动态
成功案例
客户反馈
联系我们
产品中心 PRODUCT
化工设备
化纤设备
单效蒸发器
双效蒸发器
三效蒸发器
多效蒸发器
MVR蒸发器
产品中心
服务热线
0510-87858797
地 址:宜兴市万石镇工业集中区北区南漕南路
董事长:陆正康
总经理:陈 峰
手 机:(0)13003328333,(0)13961892021
传 真:0510-87858797,85183810
邮 编:214126
网 址:wwww.dxzhengfaqi.com
邮 箱:sales@wuxihuaji.com
产品中心
当前位置:
主页导航
> 产品中心 > 化工设备
MVR蒸发器
不饱和聚酯树脂设备
配液罐
反应釜系列
换热器
螺旋板式换热器
列管式冷凝器
甲醇、酒精回收塔
波纹填料
发酵罐、种子罐
WZ
2
双效外循环真空蒸发器
高位槽、计量罐、槽车、贮罐
XPG型系列真空耙式干燥机
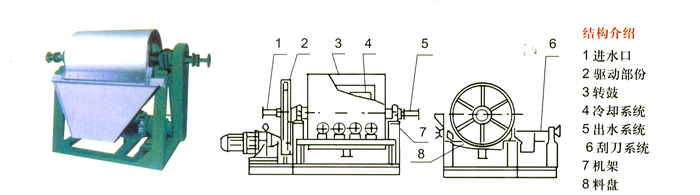
盘式干燥机
BM系列薄膜蒸发器
LG系列离心式刮板薄膜蒸发器
真空减压浓缩罐系列
真空浓缩结晶锅
不锈钢储罐
共
19
条记录 当前第
1
/1页次 转至第
1
页